티스토리 뷰
패션 대표 300명이 믿고 맡기는 쇼만마, 그 중 20개 업체는 매달 매출이 오릅니다.
안녕하세요, 쇼만마(쇼핑몰만마케팅합니다) 대표 서승재입니다.
메타 광고 비용, 얼마를 써야 '매출'이 나올지 궁금하시죠?
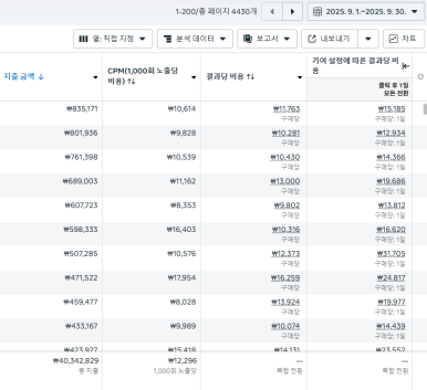
일단 아래 메타 광고 스크린샷에서 '결과당 비용' 부분을 봐주세요.
■ 추천 칼럼 : 메타 광고관리자, 예산 적은 초보자의 설정 실수




월 매출 1억원 대 ~ 4억원 대 쇼핑몰의 메타 광고 데이터입니다.
구매당 비용(결과당 비용)은 구매 고객 1명을 확보하는데 쓴 광고비를 말합니다.
구매당 비용 6,000원부터 20,000원까지를
메타 광고 비용 써서, 매출 뽑아내는 구조를 만들 수 있는 범위로 봐주시면 됩니다.
6,000원만 써도 구매 고객이 나타나면, 당신은 이 업에 '천재적 재능'을 갖춘 사람입니다.
20,000원 써서 구매 고객이 나오면, 당신은 '일반인보다 나은 수준의 재능'을 가졌다고 보시면 됩니다.
20,000원 이상 메타 광고 비용을 지출했는데,
매출이 0원이다.
당신은 이 사업에 재능이 없습니다.



승복하기 어려우시다면,
20,000원 단위로 광고를 조금씩 더 써보셔도 좋습니다.
메타 광고 비용을 얼마나 써야 매출이 나오느냐?
→사람마다 다릅니다.
(아래는 3년 전 이 주제를 설명했던 영상이니 참고 부탁드립니다)
여기까지 글을 읽은 분들은 이런 반박을 하실지도 모릅니다.
저렇게 매출이 이미 큰 업체들 데이터는, 신생(창업 초기) 쇼핑몰인 나한테는 맞지 않다구요.
저희가 매달 10일, 홈페이지와 인스타그램에 매출 성장 사례를 공유드리는 것이
바로 이것 때문입니다.
지금 매출이 얼마든 상관 없습니다.



천부적 재능이 있든, 없든
내 현 상황을 받아들이고 그 다음 단계로 나아갈 각오만 있으면 됩니다.
구매당 비용이 6,000원 대로 나오는 천재 사업가라면,
그런 콘텐츠, 제품을 늘려나가면 됩니다.
'수익'이 남는지 아닌지만 주의해서 일하시면 금방 돈 많이 버실겁니다.
(아래 영상 참고하시되, 좀 오래된 영상이니 내 상황에 대입이 잘 안된다면 미팅오셔서 물어봐주세요)
반대로 구매당 비용이 20,000원에 근접한, 겨우겨우 시장에서 팔 수 있는 턱걸이 수준이 사업가라면,
구조를 바꿔야 합니다.
구매당 비용이 6,000원 ~ 14,000원 정도 나오는 사업가들보다
훨씬 더 많은 마진을 남겨야 합니다.
1. 중국 도매를 직접 뚫어 중간 유통상 없애기 (리소스 △)
2. 재고를 늘려 원가 협상 (리스크 △)





1번과 2번을 통해 판매 가격을 낮추기만 해도
구매당 비용이 같이 떨어집니다.
그러면서 콘텐츠 능력을 키우는데도 리소스를 쏟아야 장기적으로 승산이 있습니다.
(유통, 물류/재고 능력은 콘텐츠와 달리 반복을 통해 능력이 쉽게 향상됩니다)
오늘 글이 혹시 조금 어려우셨다면,
아래 "매출 내는 메타 광고의 핵심"을 담은, 초심자용 영상도 함께 소개드리겠습니다.
https://www.youtube.com/watch?v=Z3111JOuDeQ&t=1s
온라인 쇼핑몰 사업은 점점 더 경쟁이 치열해지고 있습니다.
지금 시작하는 분들일수록 처음부터 '이기는 구조'를 잡아놔야 시행착오를 줄일 수 있습니다.
(시행착오에 따른 비용도 줄이구요)
돈이 너무 많아서,
내 돈으로 아마추어 마케터, 실력 없는 대행사들을 연습시켜주고 싶다면 말리지 않겠습니다.
하지만 단 돈 1,000원이라도 '매출'을 만들고
사업자인 '나의 실력'을 키우는데 쓰고 싶다면 '쇼만마(쇼핑몰만마케팅합니다)'와 함께 하십시오.
■ 개나 소나 1등이라는 광고회사들, 도대체 무슨 근거로?
긴 글 읽어주셔서 감사합니다.
메타 광고 비용, 매출 내려면 딱 ____원 쓰세요 - 글을 마칩니다.





'온라인 광고' 카테고리의 다른 글
| 인스타 광고 대행사, 공식 자격 없는 곳 체크리스 (0) | 2025.10.29 |
|---|---|
| 패션 광고 플랫폼, 거를 곳과 해야할 곳 정해드림 (0) | 2025.10.22 |
| 메타 광고 공식대행사, 혜택 정리 - 패션 전문 공식 에이전시 파트너사 쇼만마 (0) | 2025.09.30 |
| 메타 광고 머신러닝, 시킨대로 할거면 사업 왜 함? (1) | 2025.09.11 |
| 명품 브랜드가 매출 내는 법 (마케팅 교육, 강의) (3) | 2025.08.26 |
